Apple ha registrato di recente un nuovo brevetto che descrive uno scanner di impronte digitali posto sotto al vetro dello schermo. Segno che il progetto di portare il Touch ID sotto al display è tutt’altro che morto.
È da anni che si vocifera di questa possibilità, e l’interesse di Cupertino non sembra affievolirs. Da principio sembrava che dovesse arrivare con iPhone 13 ma i fatti hanno smentito i rumors. Le ultime indiscrezioni, invece, parlano di un debutto di questa tecnologia con iPhone 14.
Sensori Sotto al Display
Secondo Jon Prosser, uno dei leaker più affidabili, Apple è intenzionata a eliminare il vecchio notch in favore di una fotocamera hole-punch; questo design renderà necessario dunque un sistema biometrico alternativo che dovrebbe essere fornito dal Touch ID o dal Face ID nel display.
Ciò consentirebbe di semplificare ulteriormente il design di iPhone e avvicinarsi ancora di più alla tavoletta senza soluzione di continuità che sognava Jonathan Ive.
In teoria, nascondere i sensori del Face ID sotto al display dovrebbe risultare più semplice che infilare una fotocamera tradizionale, ma questa tecnologia semplicemente non esiste ancora. In compenso, Apple ha già diversi brevetti riguardo il Touch ID nel display.
L’Ultimo Brevetto

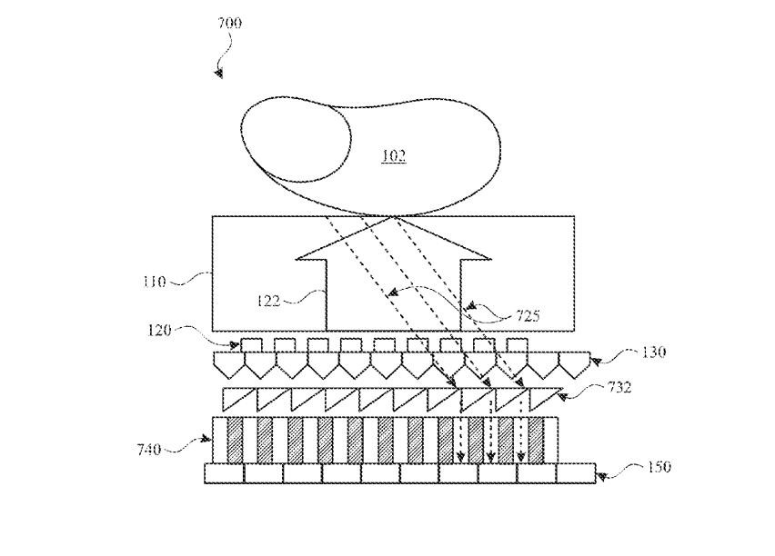
L’ultimo brevetto registrato da Apple presso lo USPTO risale a settembre 2019 e descrive un “sensore di impronte sotto al display basato su luce angolare fuori asse.” Dunque non un sensore ultrasonico, come quelli di Samsung, ma un sofisticato scanner basato sull’emissione di luce in grado di intercettare le minuscole pieghe della pelle e creare una scansione tridimensionale dell’impronta.
Tale feature risulterebbe “particolarmente vantaggiosa per la verifica e/o l’autenticazione nei dispositivi elettronici” in sostituzione al Touch ID integrato nel pulsante Home di iPad Air e iPad mini. E chiaramente, un brevetto non si trasforma sempre in un prodotto finito, ma il fatto che gli sforzi in tale senso non si siano esauriti è un evidente segnale di interesse da parte di Cupertino.