Apple ha intenzione di implementare la connettività satellitare sul suo orologio smart, forse già con Apple Watch Series 8. Il controllo temperatura doveva arrivare con Apple Watch Series 7, ma poi è stato rimandato a causa di problemi con l’algoritmo: ora a quanto pare sarebbe “ultra accurato”. Niente da fare invece per pressione e glicemia. In compenso, il display sarà più ampio, la batteria durerà di più e arriverà la versione “Sport Estremi.”
[affiliate_generic type=”button” url=”https://www.amazon.it/Apple-Watch-alluminio-mezzanotte-Cinturino/dp/B09HH9R27J” text=”Acquista Apple Watch Series 7 in sconto su Amazon”]
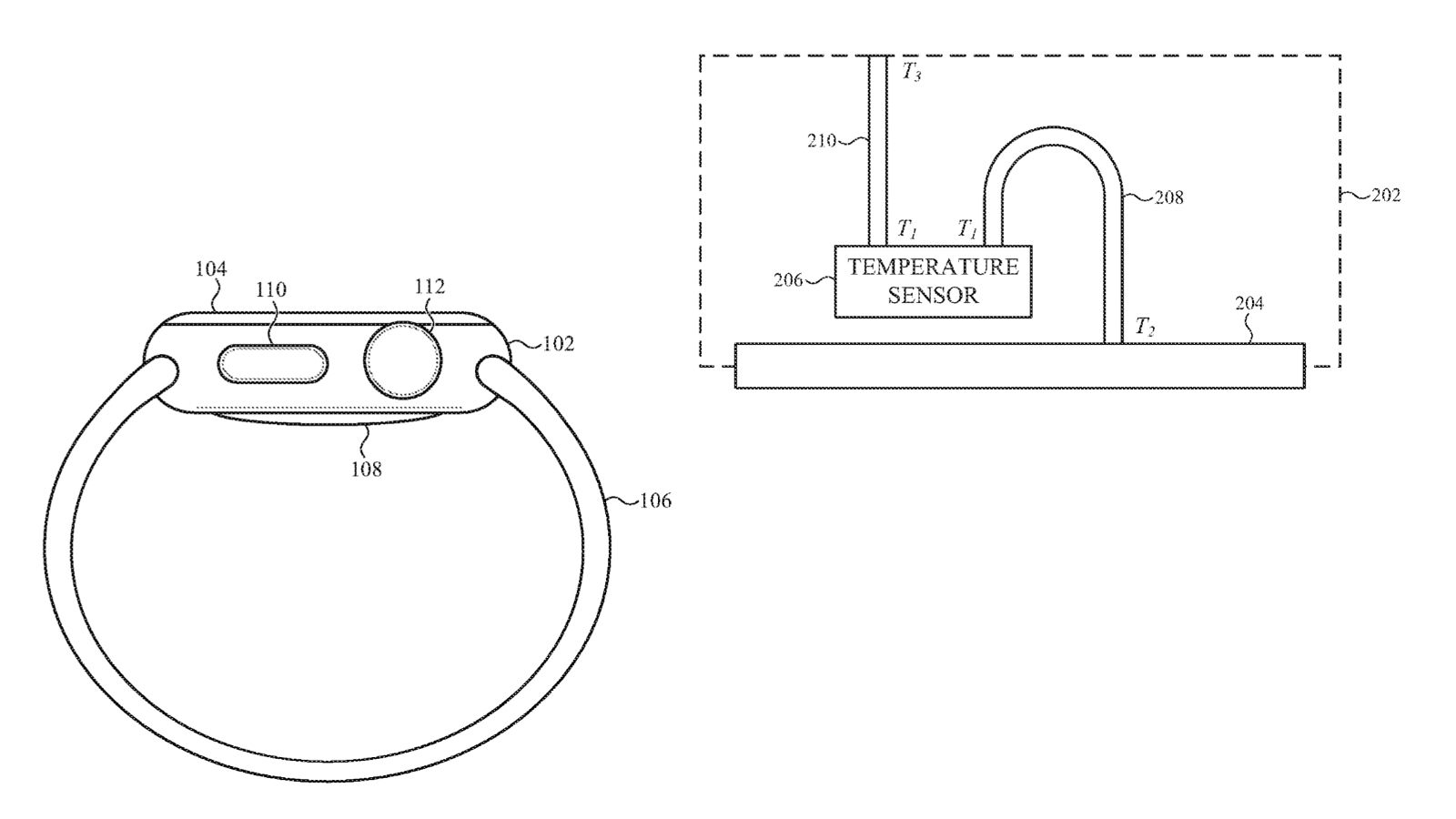
Sensore di Temperatura

Apple Watch Series 7 doveva essere il primo smartwatch Apple a integrare un sensore di temperatura. Tuttavia, spiega l’analista Ming-Chi Kuo in un thread su Twitter, “Apple ha dovuto cancellare la misurazione della temperatura corporea da Apple Watch 7 poiché l’algoritmo non ha superato i test dello stadio EVT l’anno scorso.” EVT sta per Engineering Validation Testing, ed è la fase in cui un prototipo viene trasformato nel prodotto finito.
Ciononostante, pare che ora i problemi siano stati risolti, e che “Apple Watch 8 nella seconda metà del 2022 avrà il sensore di temperatura, se Apple avrà raggiunto gli requisiti richiesti per l’algoritmo, prima della produzione di massa.”
E la conferma definitiva arriva per mezzo di un brevetto che mostra senza ombra di dubbio uno smartwatch usato per rilevare la temperatura corporea dell’utente.

Stando a quel che si legge, la temperatura della pelle varia di continuo in base agli stimoli ambientali, e uno smartwatch non può monitorarla solo via hardware: per questo c’era necessità di un algoritmo che generasse risultati attendibili. Cosa che ora a quanto pare è stata messa a punto.
Sport Estremi

Apple sta lavorando ad una versione “Sport Estremi” della prossima generazione di Apple Watch, caratterizzato da un display il 5% più ampio (forse addirittura +7% con risoluzione di 410 x 502 pixel) e scocca in metallo più robusta. Sarà dedicata a atleti, escursionisti e in generale a un pubblico che pratica sport in ambienti difficili.
Chiaramente anche lo schermo sarà progettato per risultare più robusto e reggere meglio a sollecitazioni estreme e urti.
Connettività LEO

Prima dell’arrivo di iPhone 13, molti rumors vaticinavano l’arrivo della connettività LEO sugli smartphone Apple. LEO è un acronimo che sta per “low Earth orbit” cioè orbita terrestre bassa. Si riferisce ad una costellazione di satelliti che orbitano attorno alla terra ad altitudine compresa tra 300 e 1.000 km.
“300 km di altitudine può essere considerata una posizione sicura,” scrivevamo ad agosto 2021, “perché è ampiamente al di sopra dei 200 km di altitudine sotto i quali le forze di attrito consumerebbero molto rapidamente un satellite; il massimale di 1.000 km invece è esattamente a metà delle cosiddette fasce di Van Allen: viaggiare al di sopra dei 2.000 km di altitudine infatti esporrebbe il satellite a una quantità di radiazioni tale da pregiudicarne il corretto funzionamento.”
La feature servirebbe per le chiamate ai servizi di emergenza in caso di pericolo (persone armate, comportamenti sospetti); oltreché per la Messaggistica Satellitare (per inviare coordinate GPS e altri dati importanti quando non c’è copertura cellulare tradizionale) e per la Reportistica degli Incidenti (durante una caduta improvvisa, o in un incidente stradale.
Niente Glicemia né Pressione
Apple ha intenzione di implementare un sensore di temperatura corporea e nuove feature di salute su Apple Watch Series 8 in arrivo quest’anno. Tuttavia, non riuscirà a infilare feature di monitoraggio della pressione sanguigna e dei livelli di zucchero nel sangue.
La feature dovrebbe consentire agli utenti di individuare gli episodi di ipertensione, senza tuttavia fornire letture di pressione sistolica e diastolica; ma pare ci siano problemi di affidabilità nei prototipi. Non sembra dunque che questa tecnologia sarà pronta prima del 2024-2025.
Apple Watch Series 7 può essere acquistato a partire da 395€ su Amazon.