Brevetti Apple, a Cupertino ripensano anche il proiettore

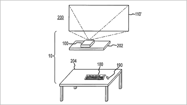
Un nuovo brevetto di Cupertino descrive un computer "desk-free" completamente wireless costituito solo di mouse, tastiera e proiettore intelligente.
Un nuovo brevetto di Cupertino descrive un computer "desk-free" completamente wireless costituito solo di mouse, tastiera e proiettore intelligente.
Brevetti Apple, a Cupertino ripensano anche il proiettore

Il brevetto numero 8.610.726 e intitolato “Computer systems and methods with projected display” (Sistemi e metodi per computer con display a proiezione”) descrive un proiettore portatile dotato di periferiche di input (mouse, Magic Trackpad, iRing o qualunque altro gingillo di puntamento), speaker, ricarica a induzione e proiettore laser/LED.

E attenzione, come esplicitamente riportato nella documentazione, qui non si parla di un semplice smart projector, quanto piuttosto di un “desk-free computer” paragonabile per potenza d’elaborazione ad un laptop o Dekstop dei giorni nostri, che può essere trasportato e utilizzato un po’ ovunque. I comuni proiettori, infatti, ricevono i dati processati con uno specifico protocollo e li mostrano alla risoluzione decisa a monte dalla sorgente (lettore DVD, computer, etc.); il dispositivo di nuova generazione pensato da Apple, invece, è capace di leggere autonomamente i dati e di interpretarli in qualche modo prima della rasterizzazione o del pre-processamento d’immagine. AppleInsider lo spiega bene:

A differenza dei proiettori tradizionali, il computer desk-free è capace di modificare dinamicamente le impostazioni di immagine basandosi sui dati dei sensori, come ad esempio la fotocamera integrata. Altri sensori includono un accelerometro, un sensore di profondità e di luce ambientale. Messi assieme, questi componenti raccolgono dati riguardanti il colore della superficie del display, la sua granulosità e altre feature tipiche per produrre un’immagine ottimizzata.

Ottimizzazioni con qualità assolutamente “lossless” e soprattutto applicate in modo del tutto autonomo, trasparente all’utente. Il sistema, ad esempio, è in grado di stabilire la distanza dalla parete di proiezione (e dunque la grandezza dell’immagine proiettata) e decidere di riordinare gli elementi grafici dell’interfaccia o di ridurne/aumentarne la grandezza in maniera opportuna. Un risultato mica male, se consideriamo che in uno degli esempi proposti, è capace di creare un’immagine da 40″ da appena 40 centimetri di distanza.

Come al solito, non è affatto detto che il brevetto possa trasformarsi di un iCinema o quel che sarà, ma l’idea è decisamente valida. In calce al documento, stilato nel 2008, troviamo le firme di Aleksandar Pance, Reese T. Cutler, Aaron Leiba, David Robbins Falkenburg, Jason Hau-Ping Chen, Alex Crumlin e Ken McAlpine.

Ti consigliamo anche

Link copiato negli appunti
Change privacy settings
×