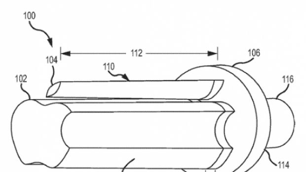
Apple ha appena registrato il brevetto di un marchingegno che incide o scava il logo della mela morsicata su diverse superfici. Il brevetto che descrive un “apparato e metodo per tagli intricati” si dilunga sulle difficoltà di incidere superfici seguendo disegni complessi. Queste difficoltà vengono superate grazie alle varie testine d’incisione di cui è fornito l’apparato e che servono ad effettuare diversi tipi di tagli.
Una superficie abrasiva permette di rimuovere il materiale che si sta scavando prima di entrare più a fondo. Le figure che si possono intagliare con questa scavatrice a mano possono essere di diversa complessità, dice Kevin M. Kenney, l’inventore dell’apparato. Secondo il brevetto, i materiali che possono essere intagliati vanno dalla grafite ad altre superfici più dure come lega di acciaio e tungsteno o cromo.
Si pensa che l’oggetto descritto dal brevetto 20110183580 servirà ad Apple per “marchiare” alcuni gadget o componenti comprati da terze parti.
[Via 9to5mac]


