Nessun risultato. Prova con un altro termine.
Prodotti
Notizie
Topic
Offerte
iPhone
iPad
Mac
iMac
Mac Mini
Mac Pro
MacBook Air
MacBook Pro
macOS
Tutto in Mac
Apple Watch
Airpods
Accessori
iOS
Pubblicità
Trending
iPhone 17
Migliori VPN del 2025
Apple Intelligence
iPhone
iPad
About
Chi siamo
Collabora
Pubblicità
Codice etico
Affiliazione
Informativa Privacy
Informativa Cookie
Note legali
RSS
Offerte
iPhone
iPad
Mac
iMac
Mac Mini
Mac Pro
MacBook Air
MacBook Pro
macOS
Tutto in Mac
Apple Watch
Airpods
Accessori
iOS
Pubblicità
Trending:
iPhone 17
Migliori VPN del 2025
Apple Intelligence
iPhone
iPad
iPhone 5S
iPhone 5s, ecco come funziona Slo-Mo, Flash 'True Tone' e bilanciamento bianco
Tutorial
I video dell'evento Apple iPhone 5s/5c e iOS 7, disponibili online
iPhone
Touch ID, cos'è e come funziona il sensore di riconoscimento
iPhone
La fotocamera dell'iPhone 5s: tutte le caratteristiche e le novità
iPhone
Che cos'è M7, il motion coprocessor e a cosa serve
iPhone 5S e iPhone 5C, la diretta live della presentazione: TouchID per sbloccare con le impronte digitali
iPhone 5s è ufficiale, ecco l'uscita, le caratteristiche e le 3 colorazioni
iPhone
iPhone 5c, ecco la scheda tecnica, il prezzo e l'uscita dell'iPhone in 5 colori
iPhone 5S, il sensore di impronte digitali si chiama "Touch ID"
Software Apple
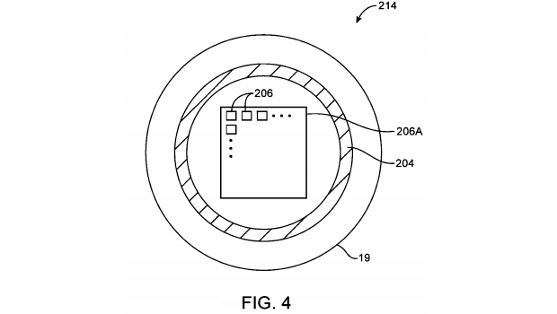
Apple brevetta un sensore di impronte digitali con NFC integrato
iPhone 5S, il packaging conferma l'anello attorno al tasto Home
Apple Store
iPhone 5S e iPhone 5C, i primi accampamenti di fronte gli Apple Store
6
7
8
9
10
11
12
13
14
15
Link copiato negli appunti