Nessun risultato. Prova con un altro termine.
Prodotti
Notizie
Topic
Offerte
iPhone
iPad
Mac
iMac
Mac Mini
Mac Pro
MacBook Air
MacBook Pro
macOS
Tutto in Mac
Apple Watch
Airpods
Accessori
iOS
Trending
iPhone 17
Migliori VPN del 2025
Apple Intelligence
iPhone
iPad
About
Disclaimer
Informativa Privacy
RSS
Offerte
iPhone
iPad
Mac
iMac
Mac Mini
Mac Pro
MacBook Air
MacBook Pro
macOS
Tutto in Mac
Apple Watch
Airpods
Accessori
iOS
Trending:
iPhone 17
Migliori VPN del 2025
Apple Intelligence
iPhone
iPad
News e approfondimenti scritti da
Redazione Webnews
iPad
Video e foto dell'iPad dal vivo
iPad
Benvenuto iPad!
Software Apple
Il paradosso di Apple: cultura chiusa e fan del libero pensiero
Software Apple
Preparativi dello Yerba Buena Center for the Arts (Aggiornato)
iPhone
Q1 2010: due record storici per Apple
iPhone
AAPL -5%: una falsa notizia scatena il venerdì nero
iPhone
Aumentano gli avvistamenti di Mac OS X 10.7 sul web
MacBook Air
Nuovo MacBook Air rinviato a causa di Intel?
Mac
Giocare con il trackpad multi-touch del MacBook
iPhone
Mac OS X 10.6.3 build 10D538: rilasciata agli sviluppatori
iPhone
Vodafone UK vende 100.000 iPhone nella prima settimana
iPhone
Apple Store: nuovo negozio a Francoforte
MacBook Pro
Steve Ballmer autografa il MacBook Pro di uno studente
iPhone
DiskTools Pro 3.6.0: 5 volte più veloce nella deframmentazione
iPhone
Apple iPad: design molto simile ad uno dei tanti mock-up
iPhone
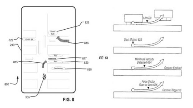
Brevetti Apple: parcheggio, input cinetici ed energia solare
iPhone
Apple contro Fujitsu per la registrazione di "iPad"
Software Apple
Apple prossima al rilascio di Aperture 3?
iPhone
iSlate, iPad, Tablet Mac: quale sarà il nome del nuovo dispositivo Apple?
iPhone
Il rilascio del tablet Apple potrebbe essere posticipato a giugno
iPhone
Gene Munster: "2010 anno dei Mac"
iPhone
Apple aggiorna Boot Camp: ora supporta Windows 7
Software Apple
FoxNews: Tablet, iPhone OS 4.0 ed iLife '10 nel prossimo keynote
iPhone
Apple conferma ufficialmente l'evento del 27 gennaio
iMac
Rumor: iMac da 22" con touchscreen
Eventi Apple
Tutti i segreti dei keynote di Steve Jobs
iPhone
Jon Rubinstein non ha mai usato un iPhone
iPhone
iPhone: migliore interfaccia touch-screen del mercato
Software Apple
Apple lavorerebbe ad un iWork multi-touch
iPhone
Apple si aggiudica 16 domini web con una denuncia ad ICANN
20
21
22
23
24
25
26
27
28
29
Change privacy settings
×