Apple progetta un portatile con videocamera integrata

Apple progetta un portatile con videocamera integrata


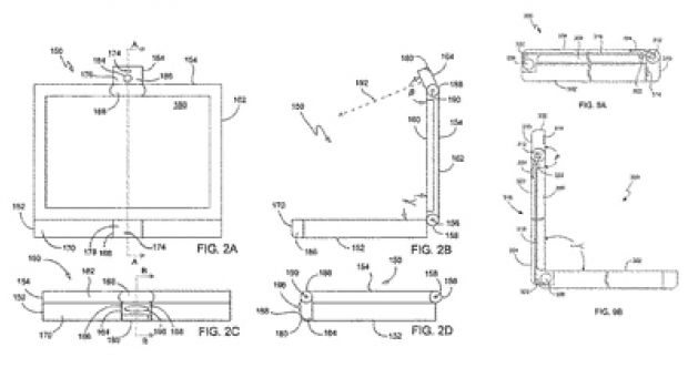
Apple ha brevettato il progetto ben dettagliato di un computer portatile con una videocamera integrata. La videocamera, posizionata sul lato superiore dello schermo, sarebbe orientabile. Il fatto che Apple abbia registrato un brevetto, ovviamente, non significa che debba essere realizzato in tempi brevi. Tra i brevetti di cui abbiamo già parlato, e che potrebbero anche non vedere mai la luce, un telecomando universale, una specie di video pod o palmare e un iBook con un iPod al posto del touchpad.

Ti consigliamo anche

Link copiato negli appunti
Change privacy settings
×