Nessun risultato. Prova con un altro termine.
Prodotti
Notizie
Topic
Offerte
iPhone
iPad
Mac
iMac
Mac Mini
Mac Pro
MacBook Air
MacBook Pro
macOS
Tutto in Mac
Apple Watch
Airpods
Accessori
iOS
Trending
iPhone 17
Migliori VPN del 2025
Apple Intelligence
iPhone
iPad
About
Disclaimer
Informativa Privacy
RSS
Offerte
iPhone
iPad
Mac
iMac
Mac Mini
Mac Pro
MacBook Air
MacBook Pro
macOS
Tutto in Mac
Apple Watch
Airpods
Accessori
iOS
Trending:
iPhone 17
Migliori VPN del 2025
Apple Intelligence
iPhone
iPad
News e approfondimenti scritti da
Redazione Webnews
macOS
Mac OS X 10.5.8 è finalmente giudicato "imminente"
App Store
Nano Rally per iPhone ed iPod Touch
iPhone
Il tablet di Apple sarà una rivoluzione per l'home entertainment?
iPhone
Rilasciata la beta 3 di iPhone OS 3.1
iPhone
Samsung porta i processori ARM oltre 1Ghz
Applicazioni iPhone
Navigon aggiorna MobileNavigator per iPhone
iPhone
Rilasciato ProKit Update 5.0
iPhone
Snow Leopard: tutti i nuovi sfondi del desktop
Applicazioni iPhone
L'augmented reality arriverà a settembre. Con iPhone OS 3.1
iPhone
MacDive: il diving fa rima con Mac
iPhone
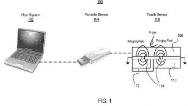
Apple brevetta l'USB "touch-and-go"
iPhone
La nuova icona di QuickTime in Snow Leopard
iPhone
Apple Mac OS X Snow Leopard: 10A421
App Store
Racer per iPhone ed iPod Touch
iPhone
Fotocamera in arrivo per iPod Nano ed iPod Touch
iPhone
USA: Apple detiene il 91% del mercato di computer che superano i 000
iPhone
Tim Cook ritorna a parlare di netbook
MacBook Air
DELL Adamo sempre più rivale del MacBook Air
iPhone
iPhone fa scuola in Giappone
App Store
Barnes & Noble presenta un ebook store per iPhone
iPhone
Apple brevetta un sistema GPS per auto
iPhone
Daisy Disk: monitorare lo stato dei dischi
Accessori Apple
Pellicole anti-riflesso per iMac e MacBook
iPhone
Uno sguardo all'iPhone 3GS - Prima Parte
iPod
Violazione di brevetto per il touch-pad di iPod
Apple Store
Aperto un nuovo Apple Store ad Ottawa
iPhone
Vacanze in USA: poche le alternative per il roaming con iPhone?
App Store
Apple annuncia: 1,5 miliardi di download dall’App Store nel primo anno
iPhone
iTablet: nuovi rumors dall'oriente
App Store
Chrome OS: Google impara dagli errori di Apple?
32
33
34
35
36
37
38
39
40
41
Change privacy settings
×